Запасные части ЧТЗ Запасные части ЧТЗ
Ленск
Например:
Актобе
Алдан
или
Выбрать автоматически
Актобе
Алдан
Алматы
Алчевск
Архангельск
Астана
Астрахань
Атырау
Баку
Балашиха
Барнаул
Белгород
Бердянск
Бишкек
Владивосток
Владикавказ
Воркута
Воронеж
Горловка
Грозный
Донецк
Екатеринбург
Иваново
Ижевск
Иркутск
Казань
Калининград
Каменск-Уральский
Караганда
Каховка
Кемерово
Киров
Комсомольск-на-Амуре
Костанай
Краснодар
Красноярск
Красный луч
Ленск
Луганск
Магадан
Магнитогорск
Макеевка
Махачкала
Мелитополь
Минск
Мирный (Якутия)
Москва
Мурманск
Нерюнгри
Нижневартовск
Нижний Новгород
Нижний Тагил
Новая каховка
Новокузнецк
Новосибирск
Новый Уренгой
Норильск
Ноябрьск
Нур-Султан
Омск
Оренбург
Ош
Павлодар
Пермь
Петрозаводск
Петропавловск
Петропавловск-Камчатский
Псков
Ростов-на-Дону
Салехард
Самара
Санкт-Петербург
Саратов
Севастополь
Семей
Симферополь
Сочи
Ставрополь
Сургут
Сыктывкар
Тараз
Ташкент
Токмак
Томск
Тында
Тюмень
Ульяновск
Усинск
Усть-Каменогорск
Уфа
Хабаровск
Ханты-Мансийск
Херсон
Челябинск
Чита
Шымкент
Экибастуз
Энергодар
Южно-Сахалинск
Якутск
Ваш город
Ленск
Войти
Запасные части к тракторам на одном сайте
+7 (932) 303-00-10
+7 (932) 303-00-10
г. Ленск, ул. Пролетарская, д. 26/3
Пн-Пт: 9:30-18:30 Cб-Вс: Выходной
Отправить заявку


Редуктор с механизмом включения П-23У трактора в Ленске


/
с НДС 20%
Описание

Снятие редуктора с механизмом включения П-23У

Снимите пусковой двигатель с дизеля. Выверните сливную пробку 6 (рис. 126) из корпуса редуктора и слейте масло.

Установка редуктора
Рис. 126. Установка редуктора

Выверните пять болтов 5 крепления редуктора к корпусу муфты сцепления и снимите редуктор.

Разборка корпуса редуктора П-23У

Выверните шесть болтов 4 крепления крышки 3 и снимите ее с прокладкой 30 (рис. 127) и вилкой 34.

Редуктор П-23У
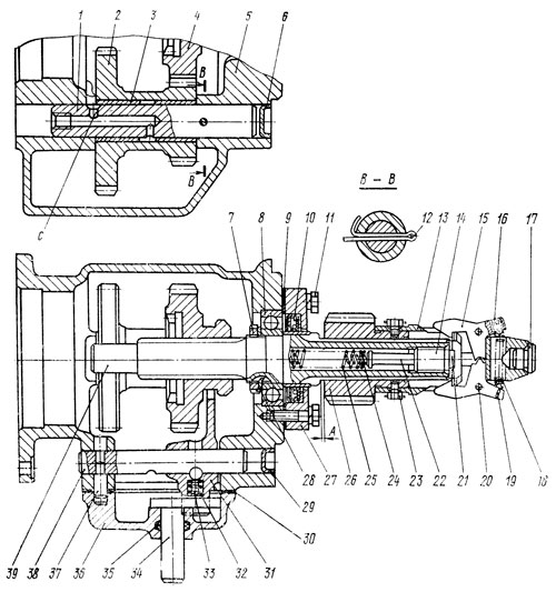
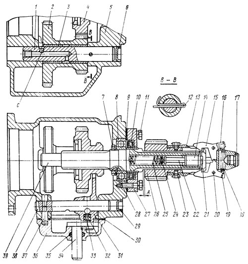
Рис. 127. Редуктор П-23У

Выньте штифт 37, удерживающий валик вилки 31 от осевого перемещения. Захватите валик приспособлением за паз под фиксатор и выбейте его в сторону, противоположную заглушке 29 из корпуса 5. Выньте из корпуса вилку переключения шестерни вместе с шариком 33 и пружиной 32. Выверните три болта 11 крепления крышки сальника 10 и выпрессуйте вал редуктора в сборе с шарикоподшипником и муфтой механизма включения, поддерживая от падения шестерню 4. Выньте шестерню из корпуса редуктора. Разогните и выньте из корпуса шплинт 12, удерживающий от перемещения ось 1 двойной шестерни 2. Выпрессуйте съемником ось в сторону, противоположную заглушке 6, используя отверстие в торце с резьбой М10. Выньте из корпуса двойную шестерню.

Разборка вала редуктора П-23У

Расконтрите болты 23 крепления муфты механизма включения. Выверните болты, разведете защелки 15 и снимите с пусковой шестерни 26 муфту 13 механизма включения. Зажмите вал в тисках с медными губками. Отогните концы стопорной шайбы 21 с граней головки направляющей 14 толкателя и выверните из вала направляющую. Выньте толкатель 22 и две пружины из полости вала 39. Снимите пусковую шестерню с вала. Снимите крышку 27 в сборе с сальником 10. Переверните вал в тисках. Отогните усики стопорной шайбы 28 из шлиц гайки 7. Отверните гайку, снимите стопорную шайбу и спрессуйте шарикоподшипник 8.

Разборка муфты механизма включения П-23У

Разбирайте муфту механизма включения при износе и замене деталей. Перед разборкой отметьте положение регулировочных винтов 16 натяжения пружины защелок 15 для установки их при сборке в то же положение. Выньте шплинты 19 из шлицев регулировочных винтов и выверните их. Расшплинтуйте пальцы 20 и выпрессуйте их из муфты 13, освободив защелки.

Технические требования на редуктор с механизмом включения П-23У

  1. Зазор между шейкой вала редуктора и отверстием во втулке вала муфты сцепления 0,06...0,116 мм, допустимый зазор 0,19 мм, предельный зазор 0,5 мм.

  2. Натяг между шарикоподшипником и валом 0,03...0,002 мм, допустимый зазор 0,02 мм, предельный зазор 0,08 мм.

  3. Допустимый зазор между наружным кольцом подшипника и корпусом редуктора 0,05 мм, предельный зазор 0,15 мм.

  4. Зазор между втулками двойной шестерни и осью 0,02...0,074 мм, допустимый зазор 0,21 мм, предельный зазор 0,8 мм.

  5. Шестерня с внутренними зубьями:
    • средняя длина общей нормали наружного венца 37,73-0,15 мм, допустимая, длина 36,93 мм;
    • средняя длина общей нормали внутреннего венца 16,38+0,63 мм, допустимая длина 17,85;
    • ширина шлицевого паза 7+0,15 мм, допустимая ширина 7,55 мм.

  6. Двойная шестерня:
    • средняя длина общей нормали большого венца 37,73-0,15 мм, допустимая длина 36,93 мм;
    • средняя длина общей нормали меньшего венца 16,38-0,15 мм, допустимая длина 15,58 мм.

  7. Толщина шлицев вала редуктора 7-0,25 мм, допустимая толщина 6,35 мм.

  8. Шестерня механизма включения (пусковая):
    • средняя длина общей нормали 19,7-0,35 мм, допустимая длина 18,80 мм;
    • ширина шлицевых пазов 7+0,05 мм, допустимая ширина 7,55 мм.

Сборка редуктора с механизмом включения П-23У

Сборка корпуса с двойной шестерней

Запрессуйте железографитовые втулки 3 (см. рис. 127) в двойную шестерню 2 заподлицо с торцовой поверхностью шестерни и расточите внутреннюю поверхность втулок.

Втулки перед запрессовкой пропитайте моторным маслом при температуре масла 343 К (70 °С) в течение не, менее 20 мин.

Поместите в корпус 5 двойную шестерню большим венцом в сторону привалочной поверхности корпуса и, смазав моторным маслом ось 1, запрессуйте ее в отверстие корпуса. Продвиньте ось через двойную шестерню во второе отверстие корпуса до совпадения отверстий под стопорный шплинт 12. Отверстие С в оси для смазки должно быть обращено вверх (к валу редуктора).

Сборка муфты механизма включения

Запрессуйте до упора в торец муфты 13 пятку 17. Вверните в резьбовые отверстия защелок 15 по меткам, нанесенным при разборке, регулировочные, винты 16. Вложите в муфту пружину 18 и защелки так, чтобы зубья защелок были в зацеплении, а концы вилок вошли в пружину. Закрепите защелки пальцами 20, расположив головки пальцев в противоположные стороны. Зашплинтуйте пальцы. Защелки должны без заеданий вращаться на пальцах.

Сборка вала редуктора П-23У

Нагрейте шарикоподшипник 8 в масляной ванне до температуры 363 К (90 °С) и напрессуйте его на вал до упора во втулку. Наденьте на вал стопорную шайбу 28, установив ее усиком в паз вала. Наверните гайку 7 до упора и застопорите ее, отогнув усик шайбы в прорезь гайки.

Сборка корпуса с валом и механизмом включения

Введите в отверстие корпуса вал редуктора. Посадите вал шарикоподшипником в гнездо корпуса редуктора и наденьте на шлицы шестерню 4, введя ее в зацепление с двойной шестерней. Пропитайте сальник 10 индустриальным маслом И-12 при температуре масла 323 К (50 °С) в течение не менее 2 ч. Запрессуйте в крышку 27 сальник кромкой кожаной манжеты в сторону привалочной поверхности крышки. Наденьте на втулку вала редуктора с помощью технологической оправки крышку с сальником и прокладкой 9. Закрепите крышку сальника тремя болтами 11 с пружинными шайбами.

Наденьте на шлицы вала пусковую шестерню 26. Вложите в полость вала внутреннюю 24 и наружную 25 пружины толкателя. Смажьте толкатель 22 моторным маслом и установите его в направляющую 14. Наденьте на направляющую стопорную шайбу 21 и вверните направляющую в торец вала редуктора. Отогните концы стопорной шайбы на грани головки направляющей и во впадины шлицев вала.

Разведите защелки 15 и наденьте на пусковую шестерню муфту 13. Закрепите муфту на шестерне четырьмя болтами 23. Болты законтрите попарно проволокой диаметром 1,4 мм крест-накрест.

Во включенном положении защелки должны надежно удерживать муфту, при расцеплении защелок с направляющей толкателя муфта должна быстро перемещаться в крайнее положение под действием пружин толкателя. При включенном положении зазор А (см. рис. 127) между буртом вала редуктора и пусковой шестерней 26 должен быть 0,3...3 мм.

Сборка корпуса редуктора

Вложите в отверстие вилки 31 пружину 32 и шарик 33. Вставьте технологический валик в отверстие вилки для удержания шарика. Установите в кольцевой паз шестерни 4 вилку и, совместив отверстия корпуса и вилки, запрессуйте валик 38 со стороны, противоположной заглушке 29 до совпадения радиального отверстия в валике с отверстием под штифт в корпусе. При этом технологический валик выталкивается валиком вилки и удаляется.

Запрессуйте штифт 37 в отверстия корпуса и валика. Запрессуйте в корпус заглушку 29. Установите на привалочную поверхность корпуса прокладку 30 и крышку 36 в сборе с вилкой 34 и резиновым кольцом 35. Вилка 34 должна своим пазом охватить цилиндрическую шейку вилки переключения шестерен. Закрепите крышку 3 (см. рис. 126) к корпусу шестью болтами 4 с пружинными шайбами. Вверните в крышку пробку 1, сливную пробку 6 и установите масломерную линейку 2.

Редуктор с механизмом включения