Запасные части ЧТЗ Запасные части ЧТЗ
Ленск
Например:
Актобе
Алдан
или
Выбрать автоматически
Актобе
Алдан
Алматы
Алчевск
Архангельск
Астана
Астрахань
Атырау
Баку
Балашиха
Барнаул
Белгород
Бердянск
Бишкек
Владивосток
Владикавказ
Воркута
Воронеж
Горловка
Грозный
Донецк
Екатеринбург
Иваново
Ижевск
Иркутск
Казань
Калининград
Каменск-Уральский
Караганда
Каховка
Кемерово
Киров
Комсомольск-на-Амуре
Костанай
Краснодар
Красноярск
Красный луч
Ленск
Луганск
Магадан
Магнитогорск
Макеевка
Махачкала
Мелитополь
Минск
Мирный (Якутия)
Москва
Мурманск
Нерюнгри
Нижневартовск
Нижний Новгород
Нижний Тагил
Новая каховка
Новокузнецк
Новосибирск
Новый Уренгой
Норильск
Ноябрьск
Нур-Султан
Омск
Оренбург
Ош
Павлодар
Пермь
Петрозаводск
Петропавловск
Петропавловск-Камчатский
Псков
Ростов-на-Дону
Салехард
Самара
Санкт-Петербург
Саратов
Севастополь
Семей
Симферополь
Сочи
Ставрополь
Сургут
Сыктывкар
Тараз
Ташкент
Токмак
Томск
Тында
Тюмень
Ульяновск
Усинск
Усть-Каменогорск
Уфа
Хабаровск
Ханты-Мансийск
Херсон
Челябинск
Чита
Шымкент
Экибастуз
Энергодар
Южно-Сахалинск
Якутск
Ваш город
Ленск
Войти
Запасные части к тракторам на одном сайте
+7 (932) 303-00-10
+7 (932) 303-00-10
г. Ленск, ул. Пролетарская, д. 26/3
Пн-Пт: 9:30-18:30 Cб-Вс: Выходной
Отправить заявку


Регулирование топливного насоса


/
с НДС 20%
Описание
Топливный насос, форсунка и регулятор представляют собой отрегулированные на заводе механизмы топливной аппаратуры, поэтому разбирать их должны в специально оборудованных мастерских квалифицированные механики.

Проверка угла опережения подачи топлива

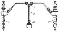
Отсоединить от насоса трубки высокого давления и навернуть моментоскоп на секцию первого цилиндра. Моментоскоп представляет собой отрезок трубки высокого давления и стеклянной трубки с внутренним диаметром 1,5-2,0 мм, соединенных между собой резиновым шлангом.

Снять среднюю панель и верхнюю крышку кожуха муфты сцепления для наблюдения за делениями на наружной цилиндрической поверхности маховика и указателем на кожухе муфты сцепления.

Установить рычаг декомпрессора в нижнее положение и с помощью рукоятки пускового двигателя прокрутить коленчатый вал дизеля до полного удаления пузырьков воздуха из трубки моментоскопа (на дизеле с ЭССП для прокручивания коленчатого вала служит рукоятка, находящаяся в ЗИП).

Медленно прокручивать коленчатый вал дизеля, следя за моментоскопом. В момент начала движения мениска топлива в стеклянной трубке метка «ВМТ1-4Ц» на ободе маховика не должна доходить до острия указателя на угол (24±2)° или 118-128 мм по дуге наружной цилиндрической поверхности маховика на ходе сжатия.

Поворотом маховика на 180° проверить угол опережения подачи топлива остальных секций в порядке работы цилиндров (1-3-4-2).
При отклонениях по моменту подачи от указанных величин следует проверить положение хвостовика толкателя по размеру (45,5±0,05) мм от верхней плоскости блока насоса до опорного торца хвостовика толкателя. Незначительное подрегулирование угла (до 4°) можно осуществить, ввертывая или вывертывая хвостовик толкателя. Поворот хвостовика на 1/6 оборота (на одну грань) примерно соответствует изменению угла опережения подачи топлива на 1-1,2° поворота коленчатого вала дизеля. При этом необходимо помнить, что вывертывание хвостовика более чем на 0,5 оборота может привести к упиранию плунжера в седло обратного клапана.
Регулирование топливного насоса