Запасные части ЧТЗ Запасные части ЧТЗ
Ленск
Например:
Актобе
Алдан
или
Выбрать автоматически
Актобе
Алдан
Алматы
Алчевск
Архангельск
Астана
Астрахань
Атырау
Баку
Балашиха
Барнаул
Белгород
Бердянск
Бишкек
Владивосток
Владикавказ
Воркута
Воронеж
Горловка
Грозный
Донецк
Екатеринбург
Иваново
Ижевск
Иркутск
Казань
Калининград
Каменск-Уральский
Караганда
Каховка
Кемерово
Киров
Комсомольск-на-Амуре
Костанай
Краснодар
Красноярск
Красный луч
Ленск
Луганск
Магадан
Магнитогорск
Макеевка
Махачкала
Мелитополь
Минск
Мирный (Якутия)
Москва
Мурманск
Нерюнгри
Нижневартовск
Нижний Новгород
Нижний Тагил
Новая каховка
Новокузнецк
Новосибирск
Новый Уренгой
Норильск
Ноябрьск
Нур-Султан
Омск
Оренбург
Ош
Павлодар
Пермь
Петрозаводск
Петропавловск
Петропавловск-Камчатский
Псков
Ростов-на-Дону
Салехард
Самара
Санкт-Петербург
Саратов
Севастополь
Семей
Симферополь
Сочи
Ставрополь
Сургут
Сыктывкар
Тараз
Ташкент
Токмак
Томск
Тында
Тюмень
Ульяновск
Усинск
Усть-Каменогорск
Уфа
Хабаровск
Ханты-Мансийск
Херсон
Челябинск
Чита
Шымкент
Экибастуз
Энергодар
Южно-Сахалинск
Якутск
Ваш город
Ленск
Войти
Запасные части к тракторам на одном сайте
+7 (932) 303-00-10
+7 (932) 303-00-10
г. Ленск, ул. Пролетарская, д. 26/3
Пн-Пт: 9:30-18:30 Cб-Вс: Выходной
Отправить заявку


Управление аварийным тормозом ПК46


/
с НДС 20%
Описание
ПК46.13.01.000 Управление аварийным тормозом ПК46
Поз. Обозначение Наименование Кол. Масса
1 Ручка 21083-170388 1 0,096
2 Уплотнитель 4320-1108022 1 0,03
3 ПК46.13.01.040 Рычаг 1 0,456
4 Шплинт 2×20.019 ГОСТ 397-79 4 0,001
5 027.43.22.019 Палец 1 0,019
6 ПК46.13.01.030 Пневмораспределитель 1 2,4
7 Болт M10-6g×20.58.019 (S16) ГОСТ 7798-70 4 0,02
8 Шайба 10.65Г.019 ГОСТ 6402-70 4 0,001
9 ПК46.13.01.004 Вилка 2 0,085
10 ПК46.13.01.002 Шпилька 1 0,039
11 Гайка М8-6Н.5.019 (S13) ГОСТ 5915-70 2 0,005
12 ПК46.13.03.019 Палец 2 0,003
Общий вес, кг 5,5


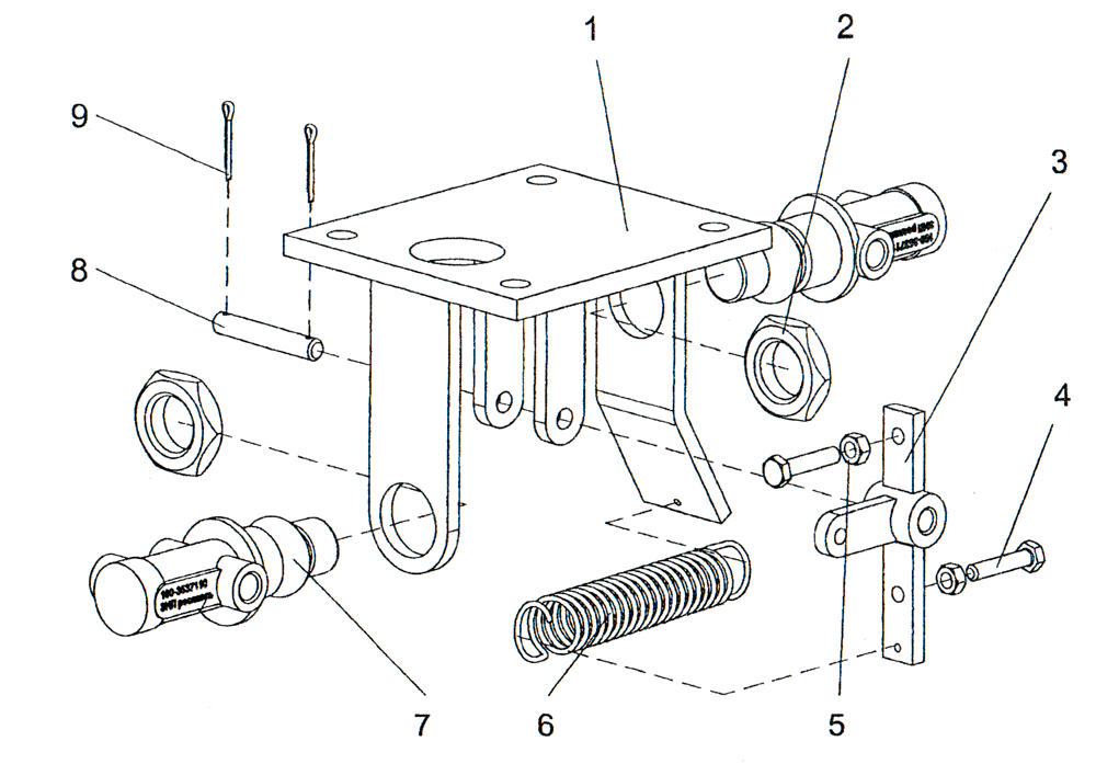
ПК46.13.01.030 Пневмораспределитель

ПК46.13.01.030 Пневмораспределитель ПК46
Поз. Обозначение Наименование Кол. Масса
1 ПК46.13.01.010 Плита 1 1.6
2 027.13.11.076 Гайка 2 0,05
3 ПК46.13.01.020 Рычаг 1 0,124
4 ПК46.13.01.001 Болт специальный 2 0,02
5 Гайка М6-6Н.5.019 (S10) ГОСТ 5915-70 2 0,002
6 027.52.00.015 Пружина 1 0.01
7 Кран пневматический 1 GO-3537110 ОСТ 37.001.085-96 2 0.3
8 027.43.22.019 Палец 2 0,03
9 Шплинт 2×20.019 ГОСТ 397-79 4 0,001
Общий вес, кг 2,4
Управление аварийным тормозом