Запасные части ЧТЗ Запасные части ЧТЗ
Ленск
Например:
Актобе
Алдан
или
Выбрать автоматически
Актобе
Алдан
Алматы
Алчевск
Архангельск
Астана
Астрахань
Атырау
Баку
Балашиха
Барнаул
Белгород
Бердянск
Бишкек
Владивосток
Владикавказ
Воркута
Воронеж
Горловка
Грозный
Донецк
Екатеринбург
Иваново
Ижевск
Иркутск
Казань
Калининград
Каменск-Уральский
Караганда
Каховка
Кемерово
Киров
Комсомольск-на-Амуре
Костанай
Краснодар
Красноярск
Красный луч
Ленск
Луганск
Магадан
Магнитогорск
Макеевка
Махачкала
Мелитополь
Минск
Мирный (Якутия)
Москва
Мурманск
Нерюнгри
Нижневартовск
Нижний Новгород
Нижний Тагил
Новая каховка
Новокузнецк
Новосибирск
Новый Уренгой
Норильск
Ноябрьск
Нур-Султан
Омск
Оренбург
Ош
Павлодар
Пермь
Петрозаводск
Петропавловск
Петропавловск-Камчатский
Псков
Ростов-на-Дону
Салехард
Самара
Санкт-Петербург
Саратов
Севастополь
Семей
Симферополь
Сочи
Ставрополь
Сургут
Сыктывкар
Тараз
Ташкент
Токмак
Томск
Тында
Тюмень
Ульяновск
Усинск
Усть-Каменогорск
Уфа
Хабаровск
Ханты-Мансийск
Херсон
Челябинск
Чита
Шымкент
Экибастуз
Энергодар
Южно-Сахалинск
Якутск
Ваш город
Ленск
Войти
Запасные части к тракторам на одном сайте
+7 (932) 303-00-10
+7 (932) 303-00-10
г. Ленск, ул. Пролетарская, д. 26/3
Пн-Пт: 9:30-18:30 Cб-Вс: Выходной
Отправить заявку


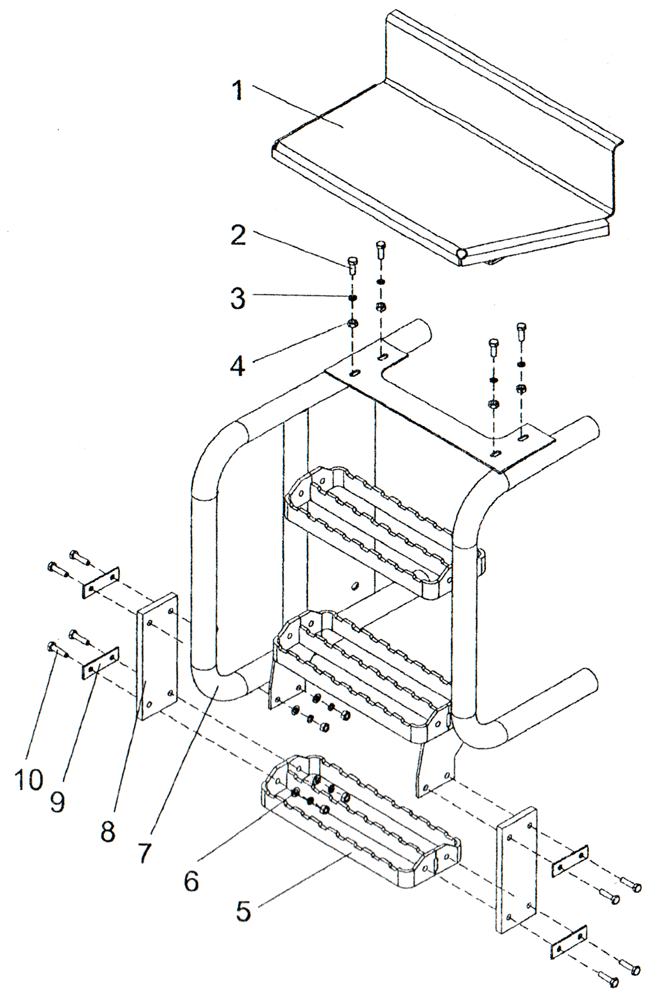
Лестница в сборе ПК46


/
с НДС 20%
Описание
ПК46.53.10,000 Лестница в сборе ПК46
Поз. Обозначение Наименование Кол. Масса
1 ПК46.53.10.020 Площадка 1 9,62
2 Болт M10-6g×30.58.019 (S16) ГОСТ 7798-70 4 0,031
3 Шайба 10.65Г.019 ГОСТ 6402-70 12 0,002
4 Гайка М10-6Н.5.019 (S16) ГОСТ 5915-70 12 0,01
5 ПК46.53.10.010 Ступень 1 3,8
6 Шайба С. 10.02.019 ГОСТ 11371-78 8 0,003
7 ПК46.53.10.040 Лестница 1 36.5
8 ПК46.53.10.002 Пластина 2 0,5
9 ПК46.53.10.001 Планка 4 0,1
20 Болт М10-6g×40.58.019 (S16) ГОСТ 7798-70 8 0,037
Общий вес, кг 55,4
Лестница в сборе