Запасные части ЧТЗ Запасные части ЧТЗ
Ленск
Например:
Актобе
Алдан
или
Выбрать автоматически
Актобе
Алдан
Алматы
Алчевск
Архангельск
Астана
Астрахань
Атырау
Баку
Балашиха
Барнаул
Белгород
Бердянск
Бишкек
Владивосток
Владикавказ
Воркута
Воронеж
Горловка
Грозный
Донецк
Екатеринбург
Иваново
Ижевск
Иркутск
Казань
Калининград
Каменск-Уральский
Караганда
Каховка
Кемерово
Киров
Комсомольск-на-Амуре
Костанай
Краснодар
Красноярск
Красный луч
Ленск
Луганск
Магадан
Магнитогорск
Макеевка
Махачкала
Мелитополь
Минск
Мирный (Якутия)
Москва
Мурманск
Нерюнгри
Нижневартовск
Нижний Новгород
Нижний Тагил
Новая каховка
Новокузнецк
Новосибирск
Новый Уренгой
Норильск
Ноябрьск
Нур-Султан
Омск
Оренбург
Ош
Павлодар
Пермь
Петрозаводск
Петропавловск
Петропавловск-Камчатский
Псков
Ростов-на-Дону
Салехард
Самара
Санкт-Петербург
Саратов
Севастополь
Семей
Симферополь
Сочи
Ставрополь
Сургут
Сыктывкар
Тараз
Ташкент
Токмак
Томск
Тында
Тюмень
Ульяновск
Усинск
Усть-Каменогорск
Уфа
Хабаровск
Ханты-Мансийск
Херсон
Челябинск
Чита
Шымкент
Экибастуз
Энергодар
Южно-Сахалинск
Якутск
Ваш город
Ленск
Войти
Запасные части к тракторам на одном сайте
+7 (932) 303-00-10
+7 (932) 303-00-10
г. Ленск, ул. Пролетарская, д. 26/3
Пн-Пт: 9:30-18:30 Cб-Вс: Выходной
Отправить заявку


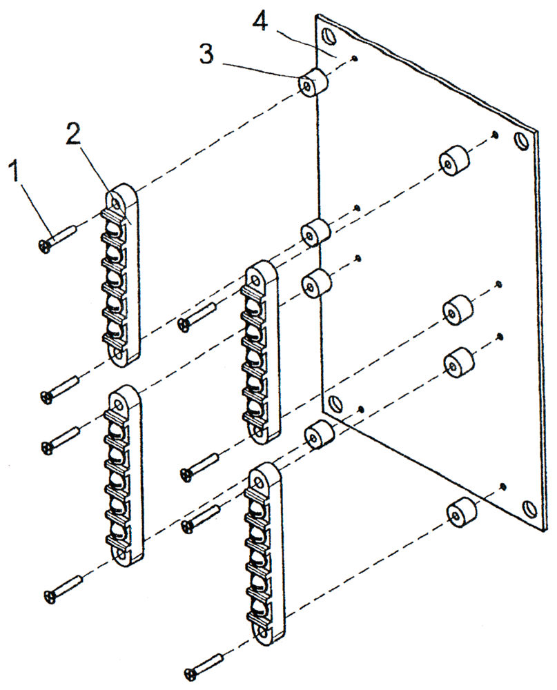
Лист в сборе ПК46


/
с НДС 20%
Описание
ПК46.41.01.020 Лист в сборе ПК46
Поз. Обозначение Наименование Кол.
1 Винт В2.М4-6g×25.58.019 ГОСТ 17475-80 8
2 Панель соединительная 17.3723.000 ТУ 37.003.419-76 4
3 ПК46.41.01.012 Втулка 8
4 ПК46.41.01.002 Лист 1


ПК46.41.01.010 Лист в сборе

1 ПК46.41.01.007-01 Перемычка предохранителей 1
2 ПК46.41.01.007-02 Перемычка предохранителей 1
3 Блок защиты БЗ-ЗО ТУ 16.522.001-82 12
4 ПК46.41.01.001 Лист 1
5 Контактор КТ-129 ГОСТ3940-84 2
6 Шайба С.4.02.019 ГОСТ 11371-78 4
7 Шайба 4.65Г.019 ГОСТ 6402-70 4
8 Винт В.М4-6g×10.58.019 ГОСТ 17473-80 4
9 Винт В2.М4-6g×12.58.019 ГОСТ 17475-80 12
10 Реле-регулятор напряжения Р2712.3702 РИВП.453746.004 ТУ 1
11 Шайба С.6.02.019 ГОСТ 11371-78 2
12 Шайба 6.65Г.019 ГОСТ 6402-70 2
13 Винт В.М6-6g×16.58.019 ГОСТ 17473-80 2
Лист в сборе