Запасные части ЧТЗ Запасные части ЧТЗ
Ленск
Например:
Актобе
Алдан
или
Выбрать автоматически
Актобе
Алдан
Алматы
Алчевск
Архангельск
Астана
Астрахань
Атырау
Баку
Балашиха
Барнаул
Белгород
Бердянск
Бишкек
Владивосток
Владикавказ
Воркута
Воронеж
Горловка
Грозный
Донецк
Екатеринбург
Иваново
Ижевск
Иркутск
Казань
Калининград
Каменск-Уральский
Караганда
Каховка
Кемерово
Киров
Комсомольск-на-Амуре
Костанай
Краснодар
Красноярск
Красный луч
Ленск
Луганск
Магадан
Магнитогорск
Макеевка
Махачкала
Мелитополь
Минск
Мирный (Якутия)
Москва
Мурманск
Нерюнгри
Нижневартовск
Нижний Новгород
Нижний Тагил
Новая каховка
Новокузнецк
Новосибирск
Новый Уренгой
Норильск
Ноябрьск
Нур-Султан
Омск
Оренбург
Ош
Павлодар
Пермь
Петрозаводск
Петропавловск
Петропавловск-Камчатский
Псков
Ростов-на-Дону
Салехард
Самара
Санкт-Петербург
Саратов
Севастополь
Семей
Симферополь
Сочи
Ставрополь
Сургут
Сыктывкар
Тараз
Ташкент
Токмак
Томск
Тында
Тюмень
Ульяновск
Усинск
Усть-Каменогорск
Уфа
Хабаровск
Ханты-Мансийск
Херсон
Челябинск
Чита
Шымкент
Экибастуз
Энергодар
Южно-Сахалинск
Якутск
Ваш город
Ленск
Войти
Запасные части к тракторам на одном сайте
+7 (932) 303-00-10
+7 (932) 303-00-10
г. Ленск, ул. Пролетарская, д. 26/3
Пн-Пт: 9:30-18:30 Cб-Вс: Выходной
Отправить заявку


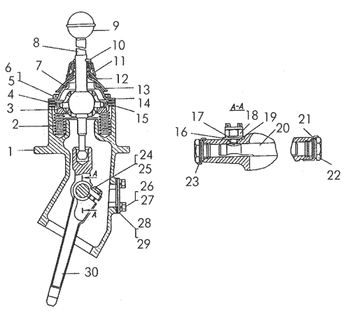
Механизм переключения передач на Т-170


/
с НДС 20%
Описание
Механизм переключения передач Т-170
Поз.НаименованиеАртикулКол-во в сборке
0Кольцо КО50Х70-21
0Механизм переключения передач 18-12-177СП1
0Механизм переключения передач 18-12-178СП1
0Прокладка40819-13
1Проставка18-12-3301
1Проставка18-12-3911
2Пружина 383252
3Кольцо133601
4Фланец шаровой133172
5БолтМ10Х30.58.0194
6Шайба10ОТ65Г094
7Кольцо408201
8Рычаг18-12-161СП1
8Рычаг 18-12-162СП1
9Рукоятка 13310СП1
10Шплинт4Х321
11Крышка135911
12Колпачок466121
13Крышка133191
14Фланец шаровой133181
15Прокладка408193
16Пластина18-12-4111
17Прокладка21-12-507
18ВыключательВК-418-37160001
19Кольцо014-018-25-2-51
20Валик18-12-4121
20Валик18-12-4131
21Прокладка405884
22Пробка700-37-21542
23Шайба313682
24Болт700-28-23262
25Пластина стопорная700-31-25421
26БолтМ8Х16.58.0194
27Шайба8Т65Г094
28Крышка18-12-2461
29Прокладка700-40-3072-11
30Рычаг 18-12-4101
Механизм переключения передач